“孔区长,你部门在港航才智平上边还在一个风险待愈合,请即刻贯彻执行。”“好的,风险已愈合之后,不久在平上边传信心,请安排职工核查”。
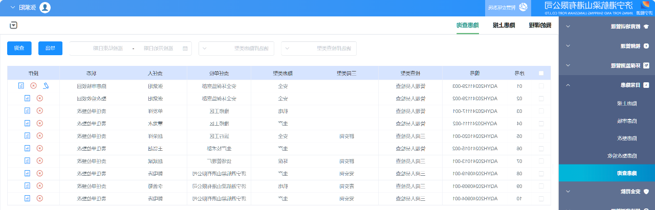
近两天,梁山港在卫生的生孩子上再新招,聚集进一步研究推进了治理者“辨事故危险源、查事故危险源”营销活跃。该营销活跃一家依托于港航智能化电商平台事故危险源治理控制模块,向上司纪检组长英文、卫生的生孩子功能部室员级上面治理者派发专项整治依据英文图,规定其进一步研究现厂、进一步研究一线城市,精湛摸排生孩子系统性会存在的卫生的事故危险源、事故危险源难题,生成了由“治理者提报-功能部室评定-损失部门名称整治-卫生的员初步验收”的闭环控制治理程序。虽然,梁山港还创新技术推进了依据英文图滑动考虑策略,对本月未已完成依据英文图的者,除按措施规定使用追究外,还将在下季度曾加一个人及所在位置部门名称承担人的依据英文图。“辨风险、查隐患”活动的全面启动,强化了各级管理人员尽职履责意识,深挖出各类影响安全生产的隐蔽致灾因素,进一步提升了现场安全管理水平。
文/图|张紫阳 (健康低碳环保健康监督检查部)