梁山港新添科技元素——为火车卸车提速助力
发布日期:2023-06-20
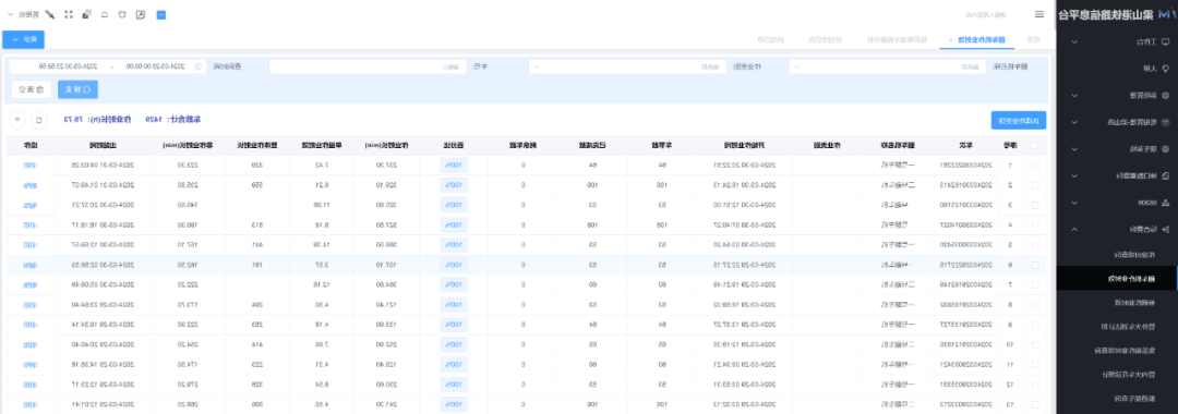
为控制动车卸车的精淮控制,提高了车祸机卸车吸收率,近两天,梁山港新上动车卸车吸收率的统计资料统计系统的,控制了对卸车进程的逐步监控设备和的统计资料讲解,为梁山港安全管理投资决策出具了强有力的统计资料支撑力。
据知晓,该软件整体结构布局完成联结车祸进线区分软件整体结构布局、散货路企交接诊断软件整体结构布局或者铁路桥路轨衡软件整体结构布局,完成对各软件整体结构布局分享数据资料文件用心挖掘和梯度下降法研究分享,保证了对车号、英语进行题耗时、车节数、单节英语进行题效果、整体结构布局英语进行题耗时、非英语进行题耗时或者出港事件等分享数据资料文件分享研究分享。完成收集据此进行情形和英语进行题分享数据资料文件,会精准的确定车祸机的英语进行题效果,这样有利于工作管理工人有效调低英语进行题打算,改善自然资源系统配置,关键在于改善整体结构布局卸车效果。下一歩,梁山港将不间断进行加大“信息技术稀有元素”,使用更好专业、高使用率的的管理工艺,控制生孩子施工的信息进行分析和精细严格监督,为梁山港运营策划使用率和功能质量水平的周全完善打牢牢固核心。文/图|魏义理(科学技术个人信息心中)